机械设计资料
返回首页
会员中心
功能菜单
联系我们
https://web.sjbb168.com/
同轴式二级圆柱齿轮减速器的设计【论文+CAD图纸+任务书+调研报告+外文资料翻译】
来源: 阅读:6
网站管理员
发布于 2026-02-05 08:20
查看主页
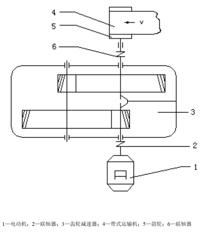
同轴式二级圆柱齿轮减速器的设计资料,为相关领域的学习与应用提供了系统参考。这套资料包含论文、图纸及外文翻译等,深入解析了其结构紧凑、传动平稳的核心优势。通过严谨的设计流程,实现了高传动比与良好对中性,有效优化了空间布局并提升了传动效率。整套学习资料逻辑清晰、内容专业,对理解该型减速器的设计要点与工程实践具有直接的实用价值。
免责声明:本文为用户发表,不代表网站立场,仅供参考,不构成引导等用途。
机械设计资料
相关推荐
食品工厂设计基础课程设计 年产10万吨酸奶厂设计说明书——18页 备注:此份不含图纸
02/08
10
货车底盘布置设计(说明书+CAD图纸)
01/31
21
18级250mm车床主轴箱课程设计(背轮结构)【论文+CAD图纸】
02/08
5
轻卡板簧设计(论文+CAD图纸+CATIA三维图+SW图纸)
01/06
28
某6层宿舍楼全套设计 (4000_5000平,含计算书,建筑图,结构图)
02/07
7
首页
分类
购物车
消息
我的
想要更低价购买?
长按二维码,联系客服享优惠折扣
微信号:
yj99cn